Product Summary
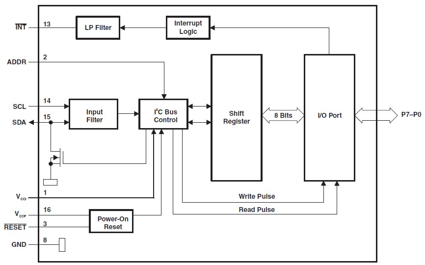
The TCA6408PWR is a low-voltage 8-bit i2c and smbus i/o expander with interrupt output, reset, and configuration registers. It is designed to provide general-purpose remote I/O expansion for most microcontroller families via the I2C interface. The TCA6408PWR consists of one 8-bit configuration (input or output selection), input, output, and polarity inversion(active high) register. At power on, the I/Os are configured as inputs. The TCA6408PWR can operate from 1.65-V to 5.5-V on the P port side and on the SDA/SCL side. This allows the device to interface with next-generation microprocessors and microcontrollers on the SDA/SCL side, where supply levels are dropping down to conserve power.
Parametrics
TCA6408PWR absolute maximum ratings: (1)VCCI Supply voltage range: –0.5 to 6.5 V; (2)VCCP Supply voltage range: –0.5 to 6.5 V; (3)VI Input voltage range: –0.5 to 6.5 V; (4)VO Output voltage range: –0.5 to 6.5 V; (5)IIK Input clamp current: ±20 mA; (6)IOK Output clamp current: ±20 mA; (7)IOL Continuous output low current: 25 mA; (8)IOH Continuous output high current: 50 mA; (9)ICC Continuous current through VCCP: 160 mA; (10)θJA Package thermal impedance RGT package: 53 ℃/W; (11)Tstg Storage temperature range: –65 to 150 ℃.
Features
TCA6408PWR features: (1)Operating Power-Supply Voltage Range of 1.65 V to 5.5 V; (2)5-V Tolerant I/O Ports; (3)I2C to Parallel Port Expander; (4)Low Standby Current Consumption of 1 μA; (5)Active-Low Reset Input; (6)Open-Drain Active-Low Interrupt Output; (7)400-kHz Fast I2C Bus; (8)Input/Output Configuration Register; (9)Polarity Inversion Register; (10)Internal Power-On Reset; (11)Power-Up With All Channels Configured as Inputs; (12)No Glitch On Power-Up; (13)Noise Filter on SCL/SDA Inputs.
Diagrams

| Image | Part No | Mfg | Description | ![]() |
Pricing (USD) |
Quantity | ||||||||||||
|---|---|---|---|---|---|---|---|---|---|---|---|---|---|---|---|---|---|---|
![]() |
![]() TCA6408PWR |
![]() Texas Instruments |
![]() I/O Expanders, Repeaters & Hubs Low-Voltage 8B I2C |
![]() Data Sheet |
![]()
|
|
||||||||||||
![]() |
![]() TCA6408PWRG4 |
![]() Texas Instruments |
![]() I/O Expanders, Repeaters & Hubs Low-Voltage 8B I2C |
![]() Data Sheet |
![]()
|
|
||||||||||||
(China (Mainland))









